欢迎光临 桂林鸿程矿山设备制造有限责任公司官方网站!

立式磨粉机与雷蒙磨粉机的区别

 立式磨粉机雷蒙磨粉机,是制粉生产线上常用的两种磨粉设备,那么立式磨粉机和雷蒙磨粉机的区别在哪?弄清楚这两种磨机有什么不同,能够帮助客户根据自身的需求和成本预算,选择更适合自己生产的磨机。

 1、内部结构不同

 立磨机与雷蒙磨外形相似,但内部结构不同,所以它们的工作运转方式略有不同。

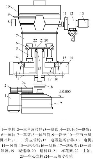
 立磨机运行时,立磨机磨辊位置是固定不动的,磨辊做自转运动,与磨盘无直接接触,底部磨盘一直旋转,将磨辊与磨盘间隙中的物料进行碾压粉磨。检查维修时,通过杠杆支架就可以将立磨机磨辊翻出来查看了,操作方便简单。

立式磨粉机结构图

立式磨粉机结构图


 雷蒙磨粉机的内部结构就与立磨机差别很大了,雷蒙磨粉机的弹簧梅花架上装了5、6个均匀分布的磨辊,磨辊围绕中心轴做圆周运动,底部铲刀扬起的物料被送入磨辊和侧壁磨环之间进行研磨。雷蒙磨磨环是固定的,它就是磨粉机的侧壁。

雷蒙磨粉机结构图

雷蒙磨粉机结构图

 但不管是立式磨粉机还是雷蒙磨粉机,石膏、重钙等物料都是在磨盘和磨辊之间被粉磨的。待物料研磨后,粉末颗粒随鼓风机循环风带入分析机中进行分选,细度过粗的物料会重磨,合格的细粉会随气流进入旋风集粉器中,经由粉管排出,即为成品。

 2、粉磨细度范围不同

 雷蒙磨粉机历史久远,成品的颗粒粒度范围略粗,在325目~10目之间。

 立式磨粉机在雷蒙磨粉机的基础上,改良技术,使得粉磨出的成品粒度更细致一些,大概在325目~85目之间。同时立式磨粉机是集烘干、粉磨、分级、输送为一体的高效粉磨设备,自带烘干系统,降低了成品含水率,系统设备少。

 3、适用对象不同

 雷蒙磨粉机和立式磨粉机的使用环境有一定差别。雷蒙磨粉机主要用于中小企业,型号和重量比较多样,价格从几万到几十万不等,而立式磨粉机主要适用于大型企业,重量和尺寸都比较大,最小型的也要几十万元。

 4、适用领域不同

 雷蒙磨粉机和立式磨粉机的市场使用率都挺高,应用行业比较相似,比如冶金、建筑建材、化工、耐火材料、制药、矿山破碎磨粉等,但相比较来说,立磨机更适用于大型专业工业领域,比如水泥和非金属矿行业。立式磨粉机自带烘干功能,在同类设备中性价比极高;雷蒙磨工艺传统,是第一代磨粉机,品质稳定,让人放心。

桂林鸿程立式磨粉机

桂林鸿程立式磨粉机

 桂林鸿程是亚洲知名的磨粉机研发和制造企业,致力于为非金属矿制粉企业提供先进的雷蒙磨粉机、立磨磨粉机等磨粉设备,经过不断的创新发展,桂林鸿程磨粉机不仅在国内非常畅销,而且还在国外制粉领域拥有广泛的应用。如果您还想了解更多关于立式磨粉机和雷蒙磨粉机的区别,欢迎您拨打热线电话咨询0773-3661663。



版权所有@2005-2020 桂林鸿程矿山设备制造有限责任公司 地址:桂林市西城经济开发区秧塘工业园  咨询电话: 13627861668 网站备案号: 桂ICP备11002237号-1

点击咨询